成都公司:成都市成華區(qū)建設南路160號1層9號
重慶公司:重慶市江北區(qū)紅旗河溝華創(chuàng)商務大廈18樓
我的關注
當前位置:工程項目OA系統(tǒng) > OA系統(tǒng)平臺版 > 功能介紹 > 客戶自助 > 我的關注
我的關注
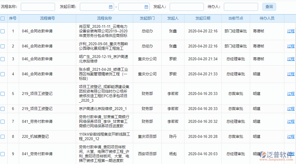
在流程審批過程中,我們可以將相關的流程進行關注處理。關注后的流程會在:流程->流程審批->我的關注中顯示,方便后期能快速查詢到自己想要的流程信息。

OA系統(tǒng)平臺版
成都公司:成都市成華區(qū)建設南路160號1層9號
重慶公司:重慶市江北區(qū)紅旗河溝華創(chuàng)商務大廈18樓
當前位置:工程項目OA系統(tǒng) > OA系統(tǒng)平臺版 > 功能介紹 > 客戶自助 > 我的關注
我的關注
在流程審批過程中,我們可以將相關的流程進行關注處理。關注后的流程會在:流程->流程審批->我的關注中顯示,方便后期能快速查詢到自己想要的流程信息。

園林企業(yè)管理系統(tǒng) 消防企業(yè)管理系統(tǒng) 電力工程管理系統(tǒng) 通信工程管理系統(tǒng) 安裝工程管理系統(tǒng) 市政工程管理系統(tǒng) 土建工程管理系統(tǒng) 水電工程管理系統(tǒng) 路橋工程管理系統(tǒng) 弱電工程管理系統(tǒng) 建筑勞務管理系統(tǒng) 幕墻工程管理系統(tǒng) 公路工程管理系統(tǒng) 交通土建工程系統(tǒng) 橋梁工程管理系統(tǒng) 隧道工程管理系統(tǒng) 房屋建筑工程系統(tǒng) 空調安裝管理系統(tǒng) 電子工程管理系統(tǒng) 建筑基礎工程系統(tǒng) 機電工程管理系統(tǒng) 鐵路工程管理系統(tǒng) 鋼結構工程系統(tǒng) 安防工程管理系統(tǒng) 核電工程管理系統(tǒng) 建筑企業(yè)ERP 裝飾工程管理系統(tǒng) 基建工程管理系統(tǒng) 監(jiān)理管理系統(tǒng)(標準版) 工程設計企業(yè)管理系統(tǒng) 水利工程管理系統(tǒng) 電梯工程管理系統(tǒng) 電氣工程管理系統(tǒng) 科研項目管理系統(tǒng) 土木工程管理系統(tǒng) 環(huán)保工程管理系統(tǒng) 光電工程管理系統(tǒng) 高校工程管理系統(tǒng) 技改工程管理系統(tǒng) 涂裝工程管理系統(tǒng) 建筑加固工程管理系統(tǒng) 景觀工程管理系統(tǒng) 港口工程管理系統(tǒng) 樓宇工程管理系統(tǒng) 生產工程管理軟件 建筑能源工程管理系統(tǒng) 投資工程管理系統(tǒng) 溫室工程管理系統(tǒng) 巖土工程管理系統(tǒng) 展覽工程管理系統(tǒng) 照明工程管理系統(tǒng) 工程造價咨詢管理系統(tǒng) 家裝工程管理系統(tǒng) 政府投資工程管理系統(tǒng) 工程運維項目管理系統(tǒng) 音響工程管理系統(tǒng) 勘察工程管理系統(tǒng) 天然氣工程管理系統(tǒng) 模具工程管理系統(tǒng) 化工工程管理系統(tǒng) 醫(yī)院項目管理系統(tǒng) 汽車項目管理系統(tǒng) 農業(yè)工程管理系統(tǒng) IT項目管理系統(tǒng) 廣告工程管理系統(tǒng) 暖通工程管理系統(tǒng) 道路運輸管理系統(tǒng) 房地產工程項目管理軟件 城市公共交通管理軟件 地質勘察管理系統(tǒng) 勘查技術服務工程管理軟件 煤炭開采管理系統(tǒng) 防洪管理系統(tǒng) 工業(yè)建筑工程系統(tǒng) 管道運輸系統(tǒng) 民用建筑工程系統(tǒng) 構筑物工程軟件 人防工程管理系統(tǒng) 礦山工程管理系統(tǒng) 水工工程管理系統(tǒng) 橋涵工程管理系統(tǒng) 軌道工程管理系統(tǒng) 醫(yī)藥工程管理系統(tǒng) 船舶工程管理系統(tǒng) 配電裝置工程系統(tǒng) 石油天然氣工程管理系統(tǒng) 有色金屬工程管理系統(tǒng) 變壓器工程管理系統(tǒng) 冶金工程管理系統(tǒng) 管道工程管理系統(tǒng) 通風工程管理系統(tǒng) 儀表工程管理系統(tǒng) 輕工工程管理系統(tǒng) 火電工程管理系統(tǒng) 建材工程管理系統(tǒng) 凈化工程管理系統(tǒng) 架線與管道工程管理系統(tǒng) 靜設備及金屬結構工程軟件 體育建筑工程系統(tǒng) 化工工程管理系統(tǒng) 演出類工程管理系統(tǒng) 會展工程管理系統(tǒng) 輔助坑道工程系統(tǒng) 海洋石油工程系統(tǒng) 蓄電池工程管理系統(tǒng) 智能化工程系統(tǒng) 酒店建筑工程系統(tǒng) 碼頭工程管理系統(tǒng) 滅火系統(tǒng)工程 母線工程管理系統(tǒng) 升船機工程系統(tǒng) 防雷及接地工程管理系統(tǒng) 爐窯工程管理軟件 建筑聯(lián)營工程管理系統(tǒng)